码迷,mamicode.com
首页 > 移动开发 > 详细

JSBridge(Android和IOS平台)的设计和实现

时间:2016-06-22 10:54:36      阅读:782      评论:0      收藏:0      [点我收藏+]

标签:

前言

 

对于商务类的app,随着app注册使用人数递增,app的运营者们就会逐渐考虑在应用中开展一些推广活动。大多数活动具备时效性强、运营时间短的特征,一般产品们和运营者们都是通过wap页面快速投放到产品的活动模块。Wap页面可以声文并茂地介绍活动,但活动的最终目标是通过获取特权、跳转进入本地功能模块,最后达成交易。如何建立wap页面和本地Native页面的深度交互,这就需要用到本文介绍的JSBridge。

 

此外一些平台类的产品,如大家每天都在使用的微信、支付宝、手机qq等,无一例外都在使用集成JSBridge的webContainer完成众多业务组件功能,大大减少了客户端Native开发的工作量,不仅节约了大量人力开发成本,还能避开产品上线更新的版本审核周期限制(特别是IOS平台)。当然这些超级APP有强大的技术力量支撑,通过JSBridge有计划的进行API规范接口,不断向前端Wap开发人员开放,并在版本上向下兼容。但对于我们刚起步运营的中小级app来说暂时还没有必要如此大张旗鼓,相反前面提到的wap活动推广则是我们的主要需求。

 

为了满足这个需求,本文通过提炼JSBridge的核心部分改造成JSService方式供各个不同的产品零修改方式使用。各个不同的产品只需要按照插件的方式提供Native扩展接口,并在各自封装的webContainer中调用JSService对Wap调用进行拦截处理。

 

具体产品应用

 

目前该框架同时覆盖了Android和IOS平台,在我司的几个电商类产品中都得到了很好的使用,并趋于稳定。

本文的Demo工程运行效果如下:

 

技术分享

 

技术分享

 

关于JSAPI的接口封装

 

JSAPI的封装包括核心JS和对外开放接口JS两个部分。 核心JS部分通过拦截某Q的wap请求页面获取,获取的JS进行编码混淆处理,已经通过调试进行了注释,其主要过程就是对参数和回调进行封装,并构建一个url链接通过创建一个隐藏的iframe进行发送。核心JS代码阅读

 

对参数和回调进行封装部分的代码如下:

 

//invoke

    //mapp.invoke("device", "getDeviceInfo", e);

    //@param e 类 必须

    //@param n 类方法 必须

    //@param i 同步回调的js方法

    //@param s

    function k(e, n, i, s) {

        if (!e || !n) return null;

        var o, u;

        i = r.call(arguments, 2), //相当于调用Array.prototype.slice(arguments) == arguments.slice(2),获取argument数组2以后的元素

 

        //令s等于回调函数

        s = i.length && i[i.length - 1],

        s && typeof s == "function" ? i.pop() : typeof s == "undefined" ? i.pop() : s = null,

 

        //u为当前存储回调函数的index;

        u = b(s);

 

        //如果当前版本支持Bridge

        if (C(e, n)) {

            //将传进来的所有参数生成一个url字符串;

            o = "ldjsbridge:" + "/" + "/" + encodeURIComponent(e) + "/" + encodeURIComponent(n),

            i.forEach(function(e, t) {

                typeof e == "object" && (e = JSON.stringify(e)),

                t === 0 ? o += "?p=": o += "&p" + t + "=",

                o += encodeURIComponent(String(e))

            }),

            (o += "#" + u); //带上存储回调的数组index;

 

 

            //执行生成的url, 有些函数是同步执行完毕,直接调用回调函数;而有些函数的调用要通过异步调用执行,需要通过

            //全局调用去完成;

               var f = N(o);

            if (t.iOS) {

                f = f ? f.result: null;

                if (!s) return f; //如果无回调函数,直接返回结果;

            }

        }else {

            console.log("mappapi: the version don‘t support mapp." + e + "." + n);

        }

    }

 

创建iframe发送JSBridge调用请求:

 

    //创建一个iframe,执行src,供拦截

    function N(n, r) {

        console.log("logOpenURL:>>" + n);

        var i = document.createElement("iframe");

        i.style.cssText = "display:none;width:0px;height:0px;";

        var s = function() {

            //通过全局执行函数执行回调函数;监听iframe是否加载完毕

            E(r, {

                r: -201,

                result: "error"

            })

        };

 

        //ios平台,令iframe的src为url,onload函数为全局回调函数

        //并将iframe插入到body或者html的子节点中;

        t.iOS && (i.onload = s, i.src = n);

        var o = document.body || document.documentElement;

        o.appendChild(i),

        t.android && (i.onload = s, i.src = n);

 

        //

        var u = t.__RETURN_VALUE;

        //当iframe执行完成之后,最后执行settimeout 0语句

        return t.__RETURN_VALUE = e,

        setTimeout(function() {

            i.parentNode.removeChild(i)

        },

        0),

        u

    }

 

对外开放接口的封装:(使用者只需要对该部分进行接口扩展即可)

 

mapp.build("mapp.device.getDeviceInfo", {

    iOS: function(e) {

        return mapp.invoke("device", "getDeviceInfo", e);

    },

    android: function(e) {

        var t = e;

        e = function(e) {

            try {

                e = JSON.parse(e)

            } catch(n) {}

            t && t(e)

        },

        mapp.invoke("device", "getDeviceInfo", e)

    },

    support: {

        iOS: "1.0",

        android: "1.0"

    }

}),

 

核心JS代码调用说明

 

mapp.version: mappAPI自身版本号

 

mapp.iOS: 如果在ios app中,值为true

 

mapp.android: 如果在android app中,值为true

 

mapp.support: 检查当前app环境是否支持该接口,支持返回true

 

    mapp.support("mqq.device.getClientInfo")

 

mapp.callback: 用于生成回调名字,跟着invoke参数传给客户端,供客户端回调

 

    var callbackName = mapp.callback(function(type, index){

        console.log("type: " + type + ", index: " + index);

    });

 

mapp.invoke 方法:

 

mapp核心方法,用于调用客户端接口。

 

        @param {String} namespace 命名空间

        @param {String} method 接口名字

        @param {Object/String} params 可选,API调用的参数

        @param {Function} callback 可选,API调用的回调

 

* 调用普通的无参数接口:

 

        mapp.invoke("ns", "method");

 

* 调用有异步回调函数的接口:

 

        mapp.invoke("ns", "method", function(data){

            console.log(data);

        });

 

        或

 

        mapp.invoke("ns", "method", {

            "params" : params   //参数通过json封装

            "callback" : mapp.callback(handler), //生成回调名字

        });

 

 

* 如果有多个参数调用:

 

        mapp.invoke("ns", "method", param1, param2 /*,...*/,callback);

 

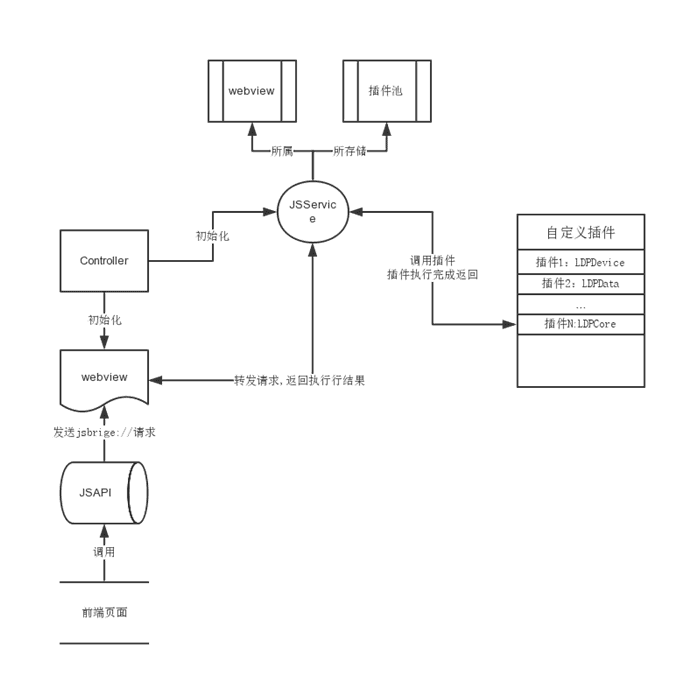
JSService的具体实现-插件运行机制

 

JSService部分是基于Phonegap的Cordova引擎的基础上简化而来,其基本原理参照Cordova的引擎原理如图所示:

 

技术分享

 

一般app中都有自己定制的Webcontainer,为了更好的跟已有项目相融合,在Cordova的基础上我们进行了简化,通过JSAPIService服务的方式进行插件扩展开发如图所示:

 

技术分享

 

本JSBridge是基于Phonegap的Cordova引擎的基础上简化而来, Android平台Webview和JS的交互方式共有三种:

 

  1. ExposedJsApi:js直接调用java对象的方法;(同步)

  2. 重载chromeClient的prompt 截获方案;(异步)

  3. url截获+webview.loadUrl回调的方案;(异步)

 

为了和IOS保持一致的JSAPI,只能选用第三套方案;

 

基于JSService的插件开发、配置和使用

 

IOS平台

 

git地址:https://github.com/Lede-Inc/LDJSBridge_IOS.git

 

在Native部分,定义一个模块插件对应于创建一个插件类, 模块中的每个插件接口对应插件类中某个方法。

 

集成LDJSBridge_IOS框架之后,只需要继承框架中的插件基类LDJSPlugin,如下所示:

 

  • 插件接口定义

 

    #import "LDJSPlugin.h"

    @interface LDPDevice : LDJSPlugin

    {}

 

    //@func 获取设备信息

    - (void)getDeviceInfo:(LDJSInvokedUrlCommand*)command;

 

    @end

 

  • 自定义插件接口实现

 

@implementation LDPDevice

 

/**

*@func 获取设备信息

*/

- (void)getDeviceInfo:(LDJSInvokedUrlCommand*)command{

    //读取设备信息

    NSMutableDictionary* deviceProperties = [NSMutableDictionary dictionaryWithCapacity:4];

 

    UIDevice* device = [UIDevice currentDevice];

    [deviceProperties setObject:[device systemName] forKey:@"systemName"];

    [deviceProperties setObject:[device systemVersion] forKey:@"systemVersion"];

    [deviceProperties setObject:[device model] forKey:@"model"];

    [deviceProperties setObject:[device modelVersion] forKey:@"modelVersion"];

    [deviceProperties setObject:[self uniqueAppInstanceIdentifier] forKey:@"identifier"];

 

    LDJSPluginResult* pluginResult = [LDJSPluginResult resultWithStatus:LDJSCommandStatus_OK messageAsDictionary:[NSDictionary dictionaryWithDictionary:deviceProperties]];

 

    [self.commandDelegate sendPluginResult:pluginResult callbackId:command.callbackId];

}

 

@end

 

  • 在plugin.json文件中对plugin插件的统一配置

 

{

    "update": "",

    "module": "mapp",

    "plugins": [

        {

            "pluginname": "device",

            "pluginclass": "LDPDevice",

            "exports": [

                {

                    "showmethod": "getDeviceInfo",

                    "realmethod": "getDeviceInfo"

                }

            ]

        }

    ]

}

 

  • 在webContainer中对JSService初始化, 当初始化完成之后,向前端页面发送一个ReadyEvent,前端即可开始调用JSAPI接口;

 

//注册插件Service

    if(_bridgeService == nil){

        _bridgeService = [[LDJSService alloc] initBridgeServiceWithConfig:@"PluginConfig.json"];

    }

    [_bridgeService connect:_webview Controller:self];

 

 

/**

Called when the webview finishes loading.  This stops the activity view.

*/

- (void)webViewDidFinishLoad:(UIWebView*)theWebView{

    NSLog(@"Finished load of: %@", theWebView.request.URL);

    //当webview finish load之后,发event事件通知前端JSBridgeService已经就绪

    //监听事件由各个产品自行决定

    [_bridgeService readyWithEvent:@"LDJSBridgeServiceReady"];

}

 

Android平台

 

git地址:https://github.com/Lede-Inc/LDJSBridge_Android.git

 

  • 插件接口定义

 

   public class LDPDevice extends LDJSPlugin {

           public static final String TAG = "Device";

 

        /**

             * Constructor.

             */

           public LDPDevice() {

           }

       }

 

  • LDJSPlugin 属性方法说明

 

   /**

    * Plugins must extend this class and override one of the execute methods.

    */

    public class LDJSPlugin {

           public String id;

 

           //在插件初始化的时候,会初始化当前插件所属的webview和controller

        //供插件方法接口 返回处理结果

        public WebView webView;

        public LDJSActivityInterface activityInterface;

 

        //所有自定义插件需要重载此方法

        public boolean execute(String action, LDJSParams args, LDJSCallbackContext callbackContext) throws JSONException {

               return false;

           }

 

       }

 

  • 自定义插件接口实现

 

@Override

     public boolean execute(String action, LDJSParams args, LDJSCallbackContext callbackContext) throws JSONException {

         if (action.equals("getDeviceInfo")) {

             JSONObject r = new JSONObject();

             r.put("uuid", LDPDevice.uuid);

             r.put("version", this.getOSVersion());

             r.put("platform", this.getPlatform());

             r.put("model", this.getModel());

             callbackContext.success(r);

         }

         else {

             return false;

         }

         return true;

     }

 

  • 在封装的webContainer中注册服务并调用:

     

 

 

技术分享

技术分享

技术分享

 

JSBridge(Android和IOS平台)的设计和实现

标签:

原文地址:http://www.cnblogs.com/fengmin/p/5605913.html

(0)
(0)
   
举报
评论 一句话评论(0
登录后才能评论!
© 2014 mamicode.com 版权所有  联系我们:gaon5@hotmail.com
迷上了代码!